皇冠信用网开户_小米SUV隐藏式门把手遭吐槽!雷军评论区沦陷
时间:2024-12-10 阅读:14035 评论:152
皇冠体育开户(www.hgty.us—)开会员号,招代理/条件好/平台出租/招登1登2登3地区代理今年3月,小米SU7上市发布皇冠信用网开户。发布会上,小米董事长雷军对小米SU7的半隐藏式门把手进行了大篇幅的介绍,车型上市后这一设计也获得了大量车主的认可。
然而,12月9日晚间,小米首款SUV——小米YU7登陆工信部,证件照显示该车似乎放弃了半隐藏式门把手,改用了真正的全隐藏式门把手皇冠信用网开户。


目前,有大量网友对于小米弃用半隐藏式门把手感到不满,雷军本人的评论区里更是有不少人希望小米可以给出解释,甚至直接重新改回半隐藏式门把手,相关评论最高获得了接近4000点赞皇冠信用网开户。

展开全文
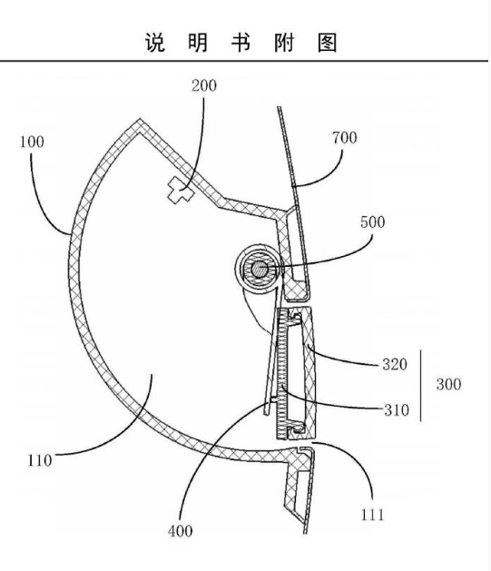
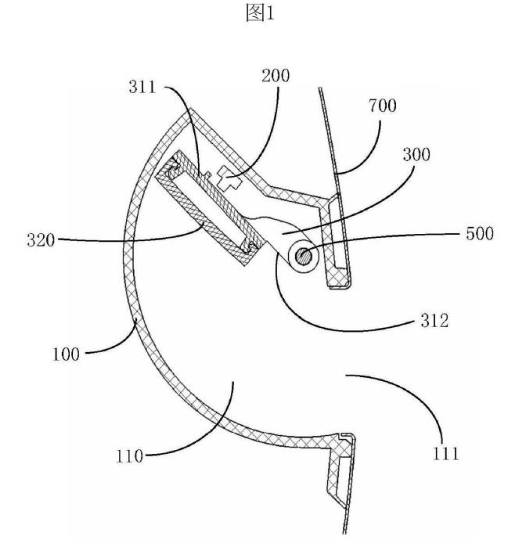
然而,虽然工信部照片显示小米YU7的门把手设计与小米SU7不同,但根据此前的一份申请专利,小米YU7的门把手或许并非大家认为的弹出式,其表面可能只是一个盖子,打开后用户可以伸手进去拉开车门,是小米SU7半隐藏式门把手的升级版皇冠信用网开户。

不过截止发稿前,小米官方暂未公布YU7的门把手设计细节,以上只是根据专利推测皇冠信用网开户。

工信部信息显示,小米YU7的长宽高分别为4999mm/1996mm/1600mm,轴距3000mm,搭载了前后双电机,电动机型号分别为YS210XY103/TZ220XY109,最高功率508千瓦,整车质量为2405kg皇冠信用网开户。
本文转载自手机中国皇冠信用网开户。
猜你喜欢
- 2025-12-13皇冠信用盘会员注册网址_高市早苗正式道歉!韩国发出强硬驳斥,丑闻还没解决又有燃眉之急,得罪中俄后又激怒韩国?
- 2025-12-12体育皇冠信用盘_金灿荣:如果日本侵略中国,俄罗斯和朝鲜会帮场子吗?
- 2025-12-12皇冠体育App下载_武汉一区委书记,任上被查!
- 2025-12-12信用盘如何申请_盲眼老太街头求女子带路被拒,之后竟能自己看手机!女子:毛骨悚然,她只向女性求助
- 2025-12-12怎么申请皇冠信用盘_99B坦克实弹测试画面首次公开
- 2025-12-12皇冠信用盘代理注册_热搜!村支书卖农作物小米,被投诉下架?当事人无奈:希望给我们一条活路
- 2025-12-12正版皇冠信用盘_超预期!降息150个基点
- 2025-12-12皇冠信用盘怎么代理_日本大机群挂48枚导弹模拟攻击辽宁舰?上演“送人头”名场面
- 2025-12-12皇冠信用盘怎么注册_中方第1击即王炸,英首相访华泡汤!英国宣布:从中国周边后撤
- 2025-12-11皇冠信用盘会员_泽连斯基用心简直险恶!妄言俄方正向中国“放弃部分主权”,幅度之大历史罕见
- 2025-12-11皇冠信用网会员如何申请_打算抛弃歼-10CE了?空军元帅“冲动消费”,孟加拉闪签欧洲台风
- 2025-12-11皇冠信用网会员如何申请_美国终于表态,高调支持日本,中方悍然砸下铁证,东京再无退路!



网友评论