hga025怎么登录 _李亚鹏否认丽江项目失败,称开盘就是丽江销售第一,两年卖了70个亿
时间:2025-06-03 阅读:7676 评论:152
皇冠欧冠联赛


李亚鹏持股公司又遭强执hga025怎么登录 !
5月27日消息,天眼查显示,丽江雪山投资有限责任公司新增3条被执行人信息,被执行总金额约244万元,执行法院均为丽江市古城区人民法院hga025怎么登录 。

展开全文
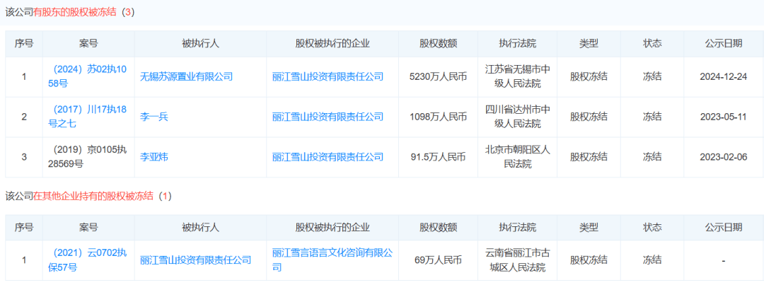
丽江雪山投资有限责任公司成立于2008年11月,法定代表人为李国栋,注册资本约2.6亿人民币,由阳光壹佰置业集团有限公司、李亚鹏等共同持股,其中,李亚鹏持股约27.8%hga025怎么登录 。
风险信息显示,上述公司已被限制高消费,并存在多条股权冻结信息,还曾因该拖欠税款而被列入欠税公告名单hga025怎么登录 。


李亚鹏目前担任两家企业的法定代表人,和6家公司的股东(一家已注销)hga025怎么登录 。

除丽江雪山投资有限责任公司外,李亚鹏还有多条股权冻结等周边风险信息hga025怎么登录 。李亚鹏已于2023年10月被北京市朝阳区人民法院限制高消费。

李亚鹏,毕业于中央戏剧学院表演系,男演员、商人hga025怎么登录 。其代表作品有《青春作证》《将爱情进行到底》《笑傲江湖》等影视作品。2014年,李亚鹏宣布退出娱乐圈。
每日经济新闻综合公开消息
每日经济新闻
猜你喜欢
- 2025-12-14皇冠登一登二登三区别_全面反华开始?特朗普不当老二,9国在白宫签字,要废中国王牌
- 2025-12-14皇冠信用盘会员开户申请_谁是高市早苗的“金主”?
- 2025-12-14皇冠信用盘会员开户申请_江西银行南昌八一支行被罚30万,涉贷款管理不到位
- 2025-12-13皇冠信用盘会员注册网址_印尼洪灾遇难人数超1000人
- 2025-12-13信用盘皇冠申请注册_“他们在逼我主动离职!”贵阳一女子称因拒绝公司降薪被“拒之门外”,律师称已涉嫌侵权
- 2025-12-13皇冠信用盘账号注册_上市一周后,摩尔线程拟用不超过75亿元买保本理财产品
- 2025-12-13怎么弄皇冠信用盘_时隔35天,中日双方将要再次会晤?小泉致电美防长,白宫紧急澄清中美关系!
- 2025-12-13世界杯足球平台代理_有人晒出一张照片,家长集体崩溃:买了丢,丢了买,尴尬了
- 2025-12-13皇冠信用盘庄家_国安新赛季管理架构解读:布罗萨默与王长庆的角色定位
- 2025-12-12正版皇冠信用盘开户_比中国年轻人更爱去成都的,居然是外国年轻人?
- 2025-12-12皇冠信用盘怎么开户_雷士照明创始人吴长江出狱后痛苦回忆 豪赌败光300亿身家
- 2025-12-12皇冠信用盘如何申请_俄称已控制哈尔科夫一地!乌方:首次用无人机击中俄里海石油平台,致其生产中断



网友评论