皇冠官网
热门标签

皇冠信用APP下载 _起底释永信:16岁出家,34岁当方丈,50岁被举报私生活混乱,56岁抖音账号粉丝破千万,60岁被调查

时间:2025-07-28   阅读:5752   评论:152

皇冠体育赛程皇冠信用网【—罔祉—(www.huangguan.hk)皇冠英雄联盟如开申请会员_账号>皇冠信用网_怎么注册代理—皇冠信用网皇冠代理登1登2登3(平台出租)2025年7月27日晚间,少林寺管理处发布通报称:少林寺住持释永信涉嫌刑事犯罪,挪用侵占项目资金寺院资产;严重违反佛教戒律,长期与多名女性保持不正当关系并育有私生子皇冠信用APP下载 。目前正在接受多部门联合调查。有关情况将及时向社会公布。

7月27日晚,记者发现“少林寺官方网站”微信公众号已删除多篇涉及释永信的文章皇冠信用APP下载 。

据多位消息人士称,释永信是在2025年7月25日前后,被河南新乡警方带走的皇冠信用APP下载 。此前,释永信已经全面主持少林寺的寺院事务工作长达38年。

据报道,少林寺官方网站对方丈释永信最后一次公开活动的报道发布于2025年7月8日:7月7日,少林寺召开全体僧众会议,释永信出席皇冠信用APP下载 。目前该报道仍在少林寺网站首页。

皇冠信用APP下载
_起底释永信:16岁出家皇冠信用APP下载
,34岁当方丈,50岁被举报私生活混乱,56岁抖音账号粉丝破千万,60岁被调查

早在7月26日,就有网传消息称,释永信已被带走调查皇冠信用APP下载 。

而在27日当天,一张关于“少林寺方丈释永信携带情人、子女等34人潜逃美国被有关部门拦截”的“警情通报”在网上流传,引发关注皇冠信用APP下载 。开封警方回应:网传图片是假的。随后,“少林寺官方网站”微信公众号发布情况通报。

据少林寺官方网站介绍,释永信方丈,俗名刘应成,生于1965年,安徽颍上人皇冠信用APP下载 。1981年到少林寺,礼第二十九代方丈释行正长老为师。1987年,行正长老圆寂,承师衣钵,接任少林寺管委会主任,全面主持寺院事务。1999年,荣膺少林寺方丈。

皇冠信用APP下载
_起底释永信:16岁出家皇冠信用APP下载
,34岁当方丈,50岁被举报私生活混乱,56岁抖音账号粉丝破千万,60岁被调查

展开全文

1998年7月至今,当选为河南省佛教协会会长皇冠信用APP下载 。2002年9月至今,当选为中国佛教协会副会长。1998年3月至今,连续当选为第九届、第十届、第十一届、第十二届全国人大代表。

释永信曾经被举报私生活混乱

援引澎湃新闻报道,10年前的2015年,少林寺方丈释永信就曾经被举报私生活混乱,引起轩然大波皇冠信用APP下载 。以下截取自澎湃新闻2015年旧文:

2015年7月25日,一则署名“少林寺知情人士释正义”,并留有电话的网帖《少林寺方丈释永信这只大老虎,谁来监督》热传皇冠信用APP下载 。网帖称,释永信有2个户籍和2个身份证,并列出其身份证号。此外还称,释永信有情妇,并与女子通奸。次日夜里,少林寺官方网站发布报案材料,要求“有关部门尽快对造谣者依法进行查处”。

少林寺释延芷法师称,少林寺已经将报案材料送到登封市公安局网监部门,公安局安排少林派出所具体调查,少林派出所已经来了解了情况,下一步应该会下立案手续皇冠信用APP下载 。“方丈还是比较淡定的,因为这个事情已经三番两次地对我们少林寺造成了很不好的影响,但方丈本人还是处事不惊的,师傅对这个事情还是很理智的。”

曾创办少林资管 累计投资近8000万元关联公司4.5亿元拍地“进军房地产”

天眼查APP显示,截至目前,释永信名下共关联着10家机构组织,其中5家企业均已注销,主要涉及河南少林寺高速公路开发有限公司等企业皇冠信用APP下载 。

回顾释永信的商业版图,1998年7月,释永信成立了河南少林寺实业发展有限公司(少林无形资产管理有限公司的前身,现已注销),主营旅游资源及产品开发等业务皇冠信用APP下载 。

2008年12月9日,释永信创办了主打投资的河南少林无形资产管理有限公司(以下简称“少林资管”),注册资本为100万人民币皇冠信用APP下载 。

少林资管是少林寺商业化运作的重要平台皇冠信用APP下载 ,自1999年以来,累计对外投资公司

16家,最大单笔投资金额达1600万元,总额近8000万元皇冠信用APP下载 。

2022年4月,据中国基金报报道,郑州市郑东新区的一块宗地被少林寺旗下的公司以4.52亿元的底价拍下,一时间,“少林寺进军房地产”的消息引起舆论热议皇冠信用APP下载 。

值得一提的是,2022年释永信退出了该公司的投资股东行列,该公司的现任法定代表人为释永福皇冠信用APP下载 。

截至目前,少林资管只有1家子公司为存续状态,名为少林欢喜地(登封)有限公司皇冠信用APP下载 。

一直以来,少林资管的运作让少林寺备受“过于商业化”的质疑皇冠信用APP下载 。

善于商业运作的方丈

查看资料发现,以少林文化为底蕴的营销相当有影响力,事件性营销包括引进TCL电脑,打造中国第一家数字化寺院、全球招收少林弟子、网上公布少林绝学等;演出及公众活动营销包括武僧世界各地上演“少林武术”、传统武术节“少林归宗大典”等;公益性活动营销,红十字会募捐、护生放生、少林基金会等皇冠信用APP下载 。

据公开信息显示,如今少林景区每年游客量可达400万人次皇冠信用APP下载 。记者查询携程等平台发现,少林寺门票为80元,如果加上《禅宗少林·音乐大典》的套票则是299元。以此估测,每年门票收入应该超过3亿元。少林寺的旅游收入,一度占据登封财政收入的三分之一。少林药局开发少林灵芝茶等产品,2019年销售额突破8000万元。

2021年少林寺入驻抖音后,释永信个人账号半年粉丝破千万,直播带货首秀超过500万元皇冠信用APP下载 。

中国嵩山少林寺申请注册666个商标曾引热议

1980年,电影《少林寺》在嵩山少林寺取景开拍时,这里还很荒凉皇冠信用APP下载 。随着1982年电影上映,少林寺爆火,当时寺里最年富力强的和尚释永信和少林寺一起,登上历史舞台,成为中国当代文化的重要符号。

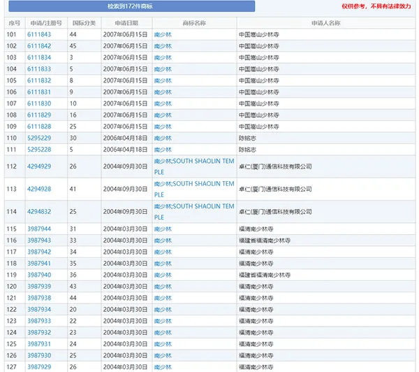
2020年,中国嵩山少林寺23年间申请注册666个商标曾引发热议皇冠信用APP下载 。经梳理发现,作为宗教机构,自上世纪90年代开始,嵩山少林寺广泛布局商标,进行品牌保护,并将“东少林”、“南少林”、“西少林”、“北少林”全部注册成功。

公开信息显示,中国嵩山少林寺进行了广泛的商标布局皇冠信用APP下载 。从1997年起至2020年9月13日,嵩山少林寺共计申请了666个商标,广泛申请注册“少林寺”、“少林”、“少林功夫”、“少林印象”、“少林生活”等商标,有些甚至是全品类注册(商标注册时有45个类别可选,各类别下又有细分)。

据悉,嵩山少林寺强势维护自身商标权益,还被指有抢注之嫌皇冠信用APP下载 。

据中国商标网信息,嵩山少林寺先后申请注册“东少林”、“西少林”、“南少林”、“北少林”等商标,且几乎是全类注册皇冠信用APP下载 。

历史上,存在“南北少林”之说,在很多人的印象里,“南少林”即福建的南少林寺,“北少林”即嵩山少林寺皇冠信用APP下载 。嵩山少林寺方丈释永信曾公开宣称,位于嵩山少林寺北边的“北少林”是嵩山少林寺的分院,但对东、西、南少林寺的情况,未有公开明确表态。

皇冠信用APP下载
_起底释永信:16岁出家皇冠信用APP下载
,34岁当方丈,50岁被举报私生活混乱,56岁抖音账号粉丝破千万,60岁被调查

嵩山少林寺与福清南少林寺注册的“南少林”商标

监制:陈刚

上一篇:皇冠信用网需要押金吗 _情投意合!25岁伊萨克一心参军,身价1.2亿利物浦愿为他再破纪录

下一篇:皇冠信用APP下载 _泰国狙击手开火,中国85高机打出超越射击,柬埔寨战士光膀子打81

猜你喜欢

网友评论